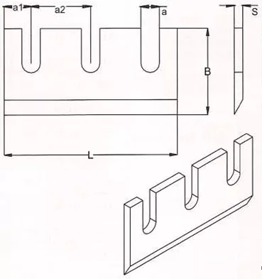
Технические характеристики
Производим ножи корообдирочные длиной от 80 мм до 420 мм, шириной от 80 мм до 230 мм, толщиной от 4 мм до 10 мм по европейским стандартам качества.
Изготавливаем из российских сталей 6ХС, 6ХВ2С и других специализированных сталей, а так же немецких сталей типа CHIPPER. Производим на собственном шлифовальном оборудовании «GUSTAV GOCKEL Maschinenfabrik GmbH» и закаливаем в соляных ваннах и вакуумных печах «IPSEN INTERNATIONAL GmbH». Изготавливаем ножи по чертежам или техзаданию заказчика. В наличии большой ассортимент на складах в Екатеринбурге и Нижнем Новгороде. Цены от 560 руб/шт с НДС.



